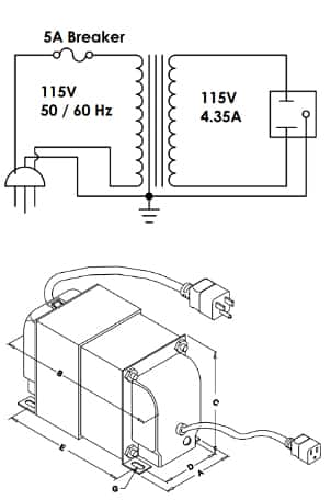
¿Cómo se distinguir un transformador de aislamiento de los demás?
Tengo este trasformador que saque de una televisión plana y quisiera saber si me puedes servir como transformador de aislamiento y como puedo distinguirlos a simple vista . Gracias

2 Respuestas
Respuesta de Jose Miguel Sirgo Pascual
2
Respuesta de albert buscapolos Ing°
1

