¿Como puedo conectar un fax a la multifunción?
Tengo actualmente 2 líneas de teléfono: una para el modem y otra para el fax. Quiero utilizar la multifunción (Brother MFC-J6710DW) para enviar/recibir faxes y así eliminar la línea de fax. El modem WIFI tiene conectado una línea de teléfono, el TPV y la conexión al ordenador de sobremesa.
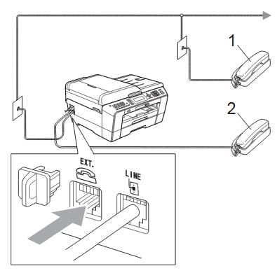
¿Cómo puedo conectar el teléfono a la multifunción? ¿Y cómo debo configurarlo para poder recibir automáticamente faxes?
1 respuesta
Respuesta de Rober Chispas
1

