Modelo de circuito digital
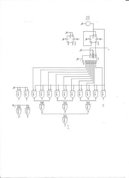
Necesitaría asesoramiento sobre un diseño o modelo de Circuito Digital tal que me entregue una sucesión continua de pulsos - p-ej. Rectangulares - por un terminal determinado y el siguiente por otro terminal distinto.
Ejemplo: Sobre un total de 10 pulsos de salida,,, 9 salen por terminal A y el décimo por terminal B y así en forma continuada. 9/1/9/1/9/1 .......
Agradezco vuestra atención.
1 respuesta
Respuesta de Botijo Antiguo
1
