Cambio de termostato de una caldera Junkers
Tengo una cadera marca Junkers.
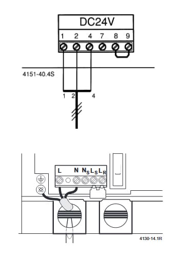
Al ir al cambiar el termostato de la pared, al quitar la tapa observo que dispone de tres cables.
En el número 1 conectado cable blanco.
En el número 2 conectado cable azul.
En el número 4 conectado cable blanco.
El nuevo termostato inteligente de la marca Netatmo solo tiene para conectar dos cables.
¿Alguien puede asesorarme?
2 respuestas
Respuesta de Instalaciones Arribas
Respuesta de Rober Chispas

