Respuesta
en
Matemáticas
a
Hallar la amplitud de los ángulos interiores de un triangulo
Respuesta
en
Matemáticas
a
Indicar el conjunto solución de las siguientes ecuaciones.a) 2 ∙ (x + 3) − 2 ∙ (5x − 3) = 2 − 3x
¿Cómo estas? Resolvemos la ecuación entonces: 2 ∙ (x + 3) − 2 ∙ (5x − 3) = 2 − 3x Propiedad distributiva: 2x + 6 - 10x + 6 = 2 - 3x Luego: 6 + 6 - 2 = - 2x + 10x - 3x 10 = 5x 2 = x Eso es todo.
Respuesta
en
Matemáticas
a
Hallar el área de un trapecio si:
Por dato, se tiene: Luego: Asimismo: B + b = 120 m Reemplazando: 5k + 3k = 120 8k = 120 k = 15 Volvemos a reemplazar: b = 3k = 3(15) = 45 B = 5k = 5(15) = 75 También:
Respuesta
en
Matemáticas
y en 3 temas más
a
Resolver según el método y clasificar según su solución:
Como estas. Como es política de la mayoría de los expertos solo se resuelve un ejercicio por pregunta. Ejercicio b: Se tiene: Por sustitución: Despejamos "x" de la primera ecuación: 5y + 6 = x Sustituimos en la otra ecuación: 2(5y + 6) + 10 + y = 0...
Respuesta
en
Matemáticas
a
A, B, C y D son puntos consecutivos sobre una recta.Si. 2AC=AB + AD - BC. Calcula CD/BC
Respuesta
en
Matemáticas
a
En una fracción el denominador puede tomar cualquier valor?
Como estas: En una fracción el DENOMINADOR no puede ser CERO, porque la división entre CERO no esta definido...
Respuesta
en
Matemáticas
a
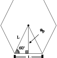
Para determinar el área de un hexágono solo es necesario la medida de la apotema ¿Por que?
Respuesta
en
Matemáticas
a
Ricardo y Daniel participan en una carrera de autos. Ricardo recorre 5/8 km y Daniel 7/8 km
Como estas: De acuerdo al enunciado: Luego: Recorren juntos 1,5 km
Respuesta
en
Matemáticas
y en 2 temas más
a
Duda acerca de teoria de conjuntos
Respuesta
en
Matemáticas
a
