Botijo Antiguo

Botijo Antiguo

Soy ingeniero en Electrónica jubilado
 746K puntos  Cataluña, España @botijo7 desde - visto

Respuestas

Respuesta en y en 2 temas más a

Motor trifásico aumenta consumo superando Intensidad nominal al cambiar fases

Se supone que lo conectó a 230V en triángulo ¿No? Si es así, es completamente normal que una turbina si gira en sentido contrario al establecido, no de aire y el motor consuma poca corriente, porque la corriente se especifica a plena carga. 6,2A es...

Transformador de pulsos, porque se llama de pulsos

Los términos ingleses que nos han invadido en Electrónica, hacen que no entendamos el significado de las palabras. "Chopper" se traduce por troceador o rebanador, algo que sugiere partir algo en trozos, como un pan... Pulso es una mala traducción de...
Respuesta en y en 2 temas más a

Unir neutro y tierra en cuadro eléctrico industrial a 24V CC

Su exposición es tan imprecisa que puede inducir a error a expertos bien informados. En términos reales un transformador de 24V CC no existe, porque: 1) Los transformadores propiamente dichos manejan solamente corriente alterna (CA). 2) El cambio de...
Respuesta en y en 1 temas más a

Como puedo elevar el votaje de mi fuente Dc a Dc

Lo que necesita es un convertidor DC-DC 12-60V ambas fijas. La regulación de la salida (60) a partir de la misma tensión de entrada (12) es bastante más complicado de conseguir. La potencia que tiene que entregar si es importante, porque de ella...
Respuesta en y en 4 temas más a

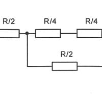
Tengo dudas sobre cómo determinar la resistencia equivalente de este ejercicio así como la intensidad en cada una de ellas

Tiene que partir de la base de que el rombo de resistencias de la izquierda está equilibrado. Lo que significa que entre los vértices superior e inferior del mismo no hay diferencia de tensión, y por lo tanto no puede haber corriente. Esto significa...
Respuesta en y en 3 temas más a

Física, circuitos. Ejercicio práctico. Tengo dudas acerca de la resolución del ejercicio

Empiezo por el condensador. Sabiendo que Q = C x V, 10^-3 = 5 x 10^-6 x V, V = 200 V. Esta tensión sobre la resistencia de 10 Ohm en paralelo con el condensador, hacen que circule por esta resistencia una corriente de 200 / 10 = 20 A. La tensión...

Duda con elementos y función de un circuito electrónico

1) Sí. La frecuencia de funcionamiento, de acuerdo con la gráfica de la página 3 de: https://www.infineon.com/dgdl/ir2153.pdf?fileId=5546d462533600a4015355c8c5fc16af para R1 = 3K3 y C2 = 4n7 es de alrededor de 5KHz. 2) La frecuencia la fijan R1 y C1,...
Respuesta en y en 1 temas más a

Como podría obtener un tren se pulsos eléctricos tipo pwm

Un tren de impulsos como el que describe no es PWM que significa "Modulación de anchura de impulsos", porque los impulsos son de igual anchura. Creo que una manera de hacerlo es que los impulsos de 555 ataquen un contador-divisor integrado 4017 (vea...
Respuesta en y en 3 temas más a

¿Por qué va la corriente eléctrica a tierra?

La corriente no va a tierra, la llevan... y es un conductor bastante bueno. En las instalaciones domésticas la corriente por derivaciones (fallas de aislamiento), va a tierra porque en otro lado de la instalación se ha conectado el otro polo a la...

¿Tengo un transformador de cargador de batería de auto.como hacer un inversor 12v a 220v?

Entiendo que lo que quiere hacer es algo sencillo y no sofisticado. En You tube hay multitud de montajes. Uno que me ha parecido sencillo es: https://www.youtube.com/watch?v=BwdXxzQcnSI La potencia que podrá obtener dependerá de la potencia del...