Tengo dudas sobre cómo determinar la resistencia equivalente de este ejercicio así como la intensidad en cada una de ellas
Este es el ejercicio:
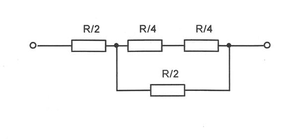
(a) Determine la resistencia equivalente de la red de resistencias de la figura. (b) ¿Cuál es la intensidad de corriente en cada resistencia si R=10 Ω y se aplica una diferencia de potencial de 80 V entre los puntos a y b?
Muchas gracias.

2 respuestas
Respuesta de Mario Gomez
1
Respuesta de Botijo Antiguo
1



