Pregunta en
Ciencias e Ingeniería
y en 3 temas más
de
Balance de la materia tengo algunos problemas de cómo empezar y sobre resolver
Se le pide preparar una disolución para laboratorio de H2O, 0.10 molar (0.10 mol H2SO4/L) a partir de H2SO4 concentrado (96.0%). De un manual se obtiene el peso específico relativo del H2SO4 al 96.0%, que es 1.858. Calcule: a) El peso de ácido al...
Sin respuestas
Pregunta en
Ciencias e Ingeniería
y en 1 temas más
de
¿Cuántos tipos de algoritmos hay?
AsfvsdGSHGJH IAOFAOSHFOSJDJ isjfidjoij oijiosjfiosjfiosj isjgiosjgiosjgiosj isjfisjisjgoij isojfiosjgisofjisodj sfjsdfsi iafjdsfoojdasio isjfiosjfsiofjio isjfisojfisofj isojfiosfjio isjfiosjfiosjfoi soijgisojgois
Sin respuestas
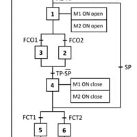
Pregunta en
Ingeniería Electrónica
y en 4 temas más
de
Como quedaría esto convertido a PLC en diagrama Ladder
Sin respuestas
Pregunta en
Ciencias e Ingeniería
y en 3 temas más
de
Determina la ecuación de la parábola, lado recto, coordenadas del foco y su gráfico sabiendo que pasa por el punto (2, -3)
Y es simétrico al eje x...
Pregunta en
Matemáticas
y en 4 temas más
de
Cuál sería la Tabla de verdad y ecuación característica para el accionamiento de lámpara
Cuál seria la Tabla de verdad y ecuación característica para el accionamiento de lámparas Diseñar un circuito electromagnético que encienda tres lámparas como se indica a continuación Si se presiona un solo botón se encenderá la lámpara #1si se...
Pregunta en
Ciencias e Ingeniería
de
Quiero empezar a usar alphacam y necesito el post procesador de un disco puente donatoni para poder hacer el archivo .iso
Como saber el post procesador de una máquina y meterlo en el programa alphacad
Pregunta en
Derecho y Leyes
y en 3 temas más
de
Que se entiendes por revolución industrial
Para hablar del desarrollo industrial colombiano, es necesario mencionar la época de la revolución Industrial, ocurrida en Europa, especialmente en Gran Bretaña, en el siglo que va desde 1750 a 1850 como una referencia histórica imprescindible. La...
Sin respuestas
Pregunta en
Ciencias e Ingeniería
de
El grafito es la forma en que precipita el carbono en el diagrama metaestable
Estoy estudiando tecnologia de los materiales y le profe nos hizo la pregunta verdadera o falsa de si el graafito precipita al carbono en el diagrama metaestable
Pregunta en
Ciencias e Ingeniería
de
Como encontrar trabajo de oceanografía
Tengo una hija de 25 años, buena estudiante, cursó Biología en la USC (Universidad de Santiago de Compostela) y luego un máster en Oceanografía y Gastón del medio marino en la UB (Universidad de Barcelona). Realizó 6 meses de prácticas en el IME...
Pregunta en
Ingeniería Industrial
y en 1 temas más
de
¿Qué es Formato entrega de dotacion industrial en Bogotá?
El formato de entrega de dotacion industrial es diligenciado para soportar la entrega de la dotación al empleado y especificar los elementos físicos o bonificaciones entregadas. Esta dotación debe ser entregada por lo menos tres veces a lo largo del...
Sin respuestas