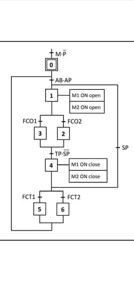
Ingeniería ElectrónicaIngeniería IndustrialIngeniería EléctricaTelefonía y TelecomunicacionesCiencias e Ingeniería Anónimo el 11 nov. 22 Como quedaría esto convertido a PLC en diagrama Ladder Me gustaría saber cómo quedaría esto en diagrama ladder Alguien me puede ayudar por favor Seguir Siguiendo Dejar de seguir