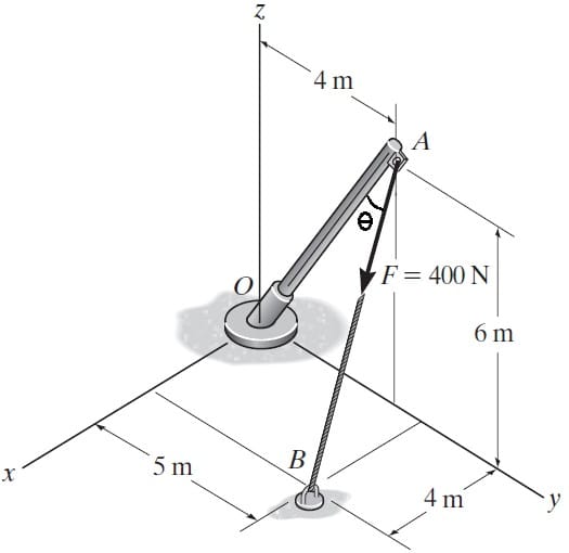
5. Determine el ángulo θ formado en la figura adjunta.
- Determine el ángulo θ formado en la figura adjunta.
curso fisica

2 respuestas
Respuesta de albert buscapolos Ing°
1
Respuesta de Karl Mat
1
