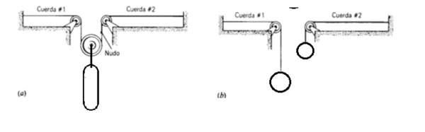
En la figura a continuación la cuerda No. 1 tiene una densidad de masa lineal de 5 g/m y la cuerda No. 2 tiene una densidad line
¿Cómo se resuelve?:
En la figura a continuación la cuerda No. 1 tiene una densidad de masa lineal de 5 g/m y la
Cuerda No. 2 tiene una densidad lineal de 3 g/m. Están bajo tensión debido a un cilindro
que tiene de diámetro 0,3m y de altura 0,6 m el cual contiene aceite con un densidad de
920 kg/m3 . A) calcule la velocidad de la onda en cada cuerda. B). Si el cilindro se cambia
por dos esferas de diferente tamaño que contienen el mismo líquido, halle el radio de las
esferas para que las velocidades de las cuerdas sean iguales.

1 respuesta
Respuesta de albert buscapolos Ing°
1