Para resolver estos problemas muchas veces hay que redibujar el circuito, porque la clave es la observación y tomar los puntos de referencia adecuados.
Yo lo hago así

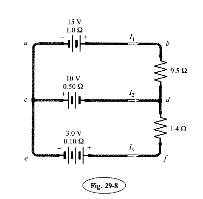
Como ves, la I2 es un dato trampa, porque los importantes son I1 e I3.
Los otros puntos, para el cálculo, carecen de relevancia y no los ponemos.

Como ves, en el punto d, hay dos corrientes y una que debe salir, entonces las que entran I1 e I3, deben sumarse para encontrar I2 (KCL), al sumarlas te dará un valor positivo, pero en el diagrama la han dibujado también entrando al punto d, lo que quiere decir que se ha tomado el sentido inverso de lo real, en este problema según lo que veo están haciendo que uno fuerce a que el sentido predefinido sea el que prevalezca al cálculo, cosas de los exámenes... Normalmente se replantea lo que se ha supuesto inicialmente.
La diferencia de potencial, el voltaje en los puntos b y e es el mismo que c y b, y a y b, entonces como puedes ver en mi diagrama en esa rama está la fuente y una caída de potencial en su resistencia interna (que yo la dibujo aparte), entonces es restarlas y te da la respuesta.
Si tienes cualquier duda sólo tienes que volver a preguntar.
Txao.
Muy Buen desarrollo Llaq Kmg. Para ayuda de Elen le paso yo la diferencia de potencial Veb.Tomando p.ej. Ve= 0 volts. y circulando por la malla exterior hacia b .tendrias:Vb= +3 - ( 6x0.1)- (6x 1.4)+( 2x9.5) = +3-0.6-8.4+19 = 13 volts.Vbe = Ve - Vb = 0 - 13 = -13 Volts. - albert buscapolos Ing°