Rodrigo Torres

Rodrigo Torres

 México @rodrigotorres3 desde - visto
Preguntar

Actividad pública reciente

Ha preguntado en el tema en

Muestreo del trabajo para determinar el tiempo elemental normal de una operación

No entiendo como resolver el siguiente problema alguien que me pueda ayudar se lo agradecería demasiado. 1.- El analista de medición del trabajo de Dorben Company planea establecer estándares para la mano de obra indirecta mediante la técnica de...
Sin respuestas
Ha preguntado en el tema en

Métodos de medición de tiempo (MTM)

Una moneda de 3/4 pulg de diámetro se coloca dentro de un circulo de 1 pulg. ¿Cuál seria el tiempo normal para posicionar el elemento?
Sin respuestas
Ha cambiado su perfil.
  • Ha cambiado su foto.
Ha valorado "Excelente" la respuesta

Cinemática de un cuerpo rígido

respondió: Si la bola de acero tiene una masa M y cae libremente desde 2.60 m. de altura llegara al nivel del agua a: V(M) = (2 x 9.80 m/seg^2 x 2.60 m) ^1/2 = 7.14 m/seg. Mientras se hunde a velocidad constante = 7.14 m/seg. recorre una trayectoria descendente...
Ha valorado "Buena" la respuesta

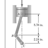
Estática: Momento de una fuerza

respondió: Del análisis de la figura que das se ve que la fuerza de 500 lb se transmite por la biela y en el punto B podes hacer la descomposición vectorial según una fuerza Fn según la dirección del radio de la manivela + una fuerza Fb según la dirección de la...
Ha preguntado en el tema en

Tengo una duda sobre un problema de estática

A fin de mover un camión volcado, se atan dos cables en A y se jalan mediante los malacates B y C como se muestra en la figura. Si se sabe que la tensión en el cable AB es de 2kips, determine las componentes de la fuerza ejercida por ese cable en A.
Sin respuestas
Ha valorado "Excelente" la respuesta

Tengo una duda. Como puedo encontrar la perpendicularidad de un plano a un recta

respondió: · · ¡Hola Rodrigo! Recordemos que el vector director de una recta lleva la dirección de esta, mientras que el vector director de un plano es perpendicular a él. Esto se traduce en que si recta y plano son perpendiculares entonces las vectores...
Ha valorado "Excelente" la respuesta

Tengo una duda. Determina la ecuación paramétrica.

respondió: · · ¡Hola Rodrigo! Sabrás que el vector director de una recta llava la dirección de esta. Mientras que el vector director de un plano es perpendicular a este. Asi si la recta es perpendicular al plano lo que sucede es que ambos vectores están...