Estática: Momento de una fuerza
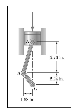
1.- Se sabe que la varilla de conexión AB ejerce una fuerza de 500lb sobre la manivela BC dirigida hacia abajo y a la izquierda a lo largo de la línea central AB. Determine el momento de la fuerza respecto de C.

1 respuesta
Respuesta de albert buscapolos Ing°
1