duber Rios

duber Rios

 Colombia @duberrios desde - visto
Preguntar

Preguntas

Pregunta en y en 1 temas más

Ejercicio de factorización, caso 7 del álgebra

Me ayudar a resolver este ejercicio de factorización factor | 20 x^2+44 x+15
Pregunta en y en 1 temas más

Proporciones: La suma de los cuatro términos de una proporción geométrica continua es a la diferencia de sus extremos como 3 ...

La suma de los cuatro términos de una proporción geométrica continua es a la diferencia de sus extremos como 3 es a 1. ¿Cuál es la razón geométrica del extremo mayor al extremo menor?
Pregunta en y en 1 temas más

Proporciones: En una proporicon geométrica se sabe que el producto de extremos es 600. Si los términos medios son ...

En una proporicon geométrica se sabe que el producto de extremos es 600. Si los términos medios son consecutivos. ¿Cuál es la suma de los términos medios?
Pregunta en y en 3 temas más

Problema sobre circuito en serie para hallar resistencia equivalente

En el circuito de la siguiente figura fluye una corriente de 5 amperios. Cual será el valor de la resistencia equivalente del circuito si la batería es de 30 Voltios. Explicar: 6 Ω6A150 Ω150A
Pregunta en y en 2 temas más

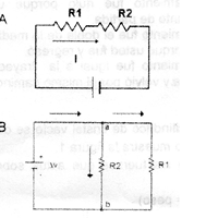
Problema sobre resistencias electricas iguales

Dos resistencia iguales se conectan a una pila para formar dos circuitos que se ilustran a continuación (explicar): La intensidad de corriente total que suministra la pila al circuito A (IA) es, con respecto a la que suministra al circuito B (IB)...
Pregunta en y en 1 temas más

Problema sobre frecuencia de la luz amarilla

Un parlante emite a una frecuencia fija dada. Considere que el parlante se reemplaza por una fuente de luz amarilla. De la anterior situación es correcto afirmar que: Si la fuente de luz se acerca rápidamente se observa una mayor frecuencia, es decir...
Pregunta en y en 2 temas más

Problema sobre frecuencia del sonido y efecto doppler

Un parlante emite a una frecuencia fija dada. Es correcto afirmar que un observador escuchará un sonido (explicar): De mayor frecuencia si el observador o el parlante se mueve (n) acercándose entre siDe menor frecuencia si el observador se aleja o si...
Pregunta en y en 2 temas más

Problema de magnetismo con un imán en movimiento y una espira circular

Un imán se introduce perpendicular al plano de una espira circular como se ilustra en la figura. Mientras el imán está en movimiento (explicar) El campo magnético en el área delimitada por el alambre, no se alteraSe genera un campo eléctrico paralelo...
Pregunta en y en 2 temas más

Problema sobre refracción de la luz y el indice

Los rayos de luz emitidos por objetos luminosos viajan en línea recta dentro de un mismo medio como en la figura 1. Si un rayo de luz pasa de aire a agua cambia su dirección como se muestra en la figura 2. Cuando una piscina está vacía un nadador...
Pregunta en y en 2 temas más

Problema de cargas eléctricas con superficie lisa no conductoraS

Dos esferas (1 y 2) con cargas iguales se encuentran sobre una superficie lisa no conductora y están atadas a un hilo no conductor. La esfera 1 está fija a la superficie. Al cortar el hilo, la gráfica de aceleración contra por de la esfera 2 es...