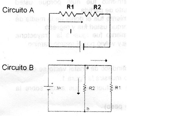
Problema sobre resistencias electricas iguales
Dos resistencia iguales se conectan a una pila para formar dos circuitos que se ilustran a continuación (explicar):
La intensidad de corriente total que suministra la pila al circuito A (IA) es, con respecto a la que suministra al circuito B (IB) Explicar:
- Igual por que hay igual numero de resistencias en ambos circuitos
 - El doble porque el circuito A es serie, mientras que el B es paralelo
 - La mitad porque en el circuito A la corriente solo tiene un camino posible, mientras que en el B tiene dos
 - La cuarta parte porque la resistencia total en el circuito A es el cuádruple de la B

 
1 Respuesta
                    Respuesta de albert buscapolos Ing°                
                
        
        
            
                2
              
        
        
        
            
            
        
    
                