Junior Martinez

Junior Martinez

 Colombia @juniormartinez desde - visto
Preguntar

Preguntas

Pregunta en y en 2 temas más

Determinar la distribución de madurez del proceso para organizaciones...

Como es la cuestión. Determinar la distribución de madurez del proceso para organizaciones de software en Estados Unidos y el mundo.
Sin respuestas
Pregunta en

Taller prueba 4. Calcúlese la radiancia emitida por la tierra, considere la tierra como un cuerpo negro, esférico con una te

Calcúlese la radiancia emitida por la tierra, considere la tierra como un cuerpo negro, esférico con una temperatura promedio de 300 K y cuyo radio es de 6370 kms b) hállese también la potencia radiada.
Pregunta en

Taller Prueba 3. Calcule la potencia térmica irradiada de una fogata suponiendo que la emisividad de 0,80, una superficie ef

Calcule la potencia térmica irradiada de una fogata suponiendo que la emisividad de 0,80, ¿Una superficie efectiva de radiación de 3m^2 y una temperatura de radiación de 478°C En que región del espectro esta la radiación?
Pregunta en

TALLER PRUEBA. ¿Cuál es potencia radiada de un cuerpo humano de 2,2 m2 de área una emisividad de e=0,8 y una temperatura de

¿Cuál es potencia radiada de un cuerpo humano de 2,2 m2 de área una emisividad de e=0,8 y una temperatura de 33°C, b) Cual es la longitud de onda de máxima radiación y en que región del
Pregunta en

Una barra rígida, de 1 m de largo, es medida por dos observadores, uno en reposo con respecto a la barra y el segundo moviéndose

Taller prueba Una barra rígida, de 1 m de largo, es medida por dos observadores, uno en reposo con respecto a la barra y el segundo moviéndose con respecto al primero a lo largo de la longitud de la barra. ¿A qué velocidad debe moverse el observador...
Pregunta en

27. En un país hipotético la velocidad de la luz es de 20 m/s. ¿En qué porcentaje se reduce la longitud de un objeto que se muev

En un país hipotético la velocidad de la luz es de 20 m/s. ¿En qué porcentaje se reduce la longitud de un objeto que se mueve a 15 m/s respecto de un observador en reposo? PISTA(S. 66 %.)
Pregunta en

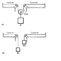
(Repetición)En la figura a continuación la cuerda No. 1 tiene una densidad de masa lineal de 5 g/m y la cuerda No. 2 tiene

¿Cómo se resuelve?: En la figura a continuación la cuerda No. 1 tiene una densidad de masa lineal de 5 g/m y la Cuerda No. 2 tiene una densidad lineal de 3 g/m. Están bajo tensión debido a un cilindro que tiene de diámetro 0,3m y de altura 0,6 m el...
Pregunta en y en 2 temas más

Ruido blanco (Ruido gaussiano). La energía del ruido blanco, por el contrario, está repartida en una amplia región del del espec

Alguien me quiere decir el el el ruido blanco en simples palabras, muy claro y con dos ejemplos.
Pregunta en

En la figura a continuación la cuerda No. 1 tiene una densidad de masa lineal de 5 g/m y la cuerda No. 2 tiene una densidad line

¿Cómo se resuelve?: En la figura a continuación la cuerda No. 1 tiene una densidad de masa lineal de 5 g/m y la Cuerda No. 2 tiene una densidad lineal de 3 g/m. Están bajo tensión debido a un cilindro que tiene de diámetro 0,3m y de altura 0,6 m el...
Pregunta en

Densidad de masa lineal y la cuerda

En la figura 27a, la cuerda #1 tiene una densidad de masa lineal de 3.31 g/m, y la cuerda # 2 de 4.87 g/m. Está bajo tensión debido al bloque colgante de masa M=511 g.(a) Calcule la velocidad de onda en cada cuerd. (b) El bloque se divide ahora en...